扫呗缴费通3.0上线!助力学费快速收缴
在商户收款过程中,经常面临远程收款困难、支付信息对账繁琐、催缴不方便等问题。在时间成本、管理成本、人力成本上造成不少损失。
为解决以上问题,扫呗在2020年推出扫呗缴费通,旨在延伸商户线上线下缴费场景,提供多样化的缴费方式,提升商户收款效率,优化用户体验。
为了更加适配校园老生缴费、物业缴费等半封闭场景,在近期重磅上线的扫呗缴费通3.0版本中,我们新增了账单缴费功能。
账单缴费针对特定的支付对象,限定收费范围,无需支付对象输入信息,直接确认支付即可。近期,该功能为山东省济宁市汶上县一中收缴学费超千万元,大大提升了学校的收款效率。
那么,具体应该怎样创建和使用账单缴费呢?
以校园账单缴费场景为例,线上账单创建步骤如下:
在扫呗PC后台首页点击“缴费管理”,选择账单缴费,弹出新建项目

新建项目
填写项目名称及时间,点击右侧“模板下载”

填写项目信息

下载表格—花名册及费项模板
表格完成后回到网页上传,按提示操作即可成功创建缴费单。

完成表格并上传,点击确定导入

发布即可创建缴费单
点击二维码生成缴费二维码和小程序链接,发送至家长群

点击二维码

生成缴费二维码和小程序链接
家长无需输入信息,直接支付或找人代付即可,还可选择花呗分期、银联分期、签约代付
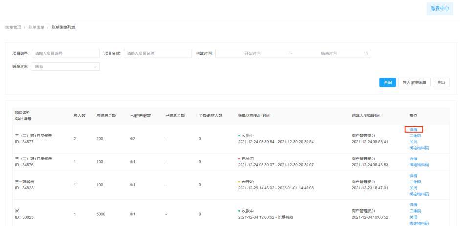
收款人如想查看当前缴费情况,回到创建成功页面,点击详情,导出明细后即可对账

点击详情

点击导出明细,下载表格对账
线下使用账单缴费也非常方便:
在PC端下载二维码海报、收款贴纸,需要商户打印张贴。标准物料在收款单绑定对应物料编号即可。
除了账单缴费功能,扫呗缴费通3.0还新增跨项目对账功能,并且更加注重保护商户业务隐私:代理商无权查看商户业务流水,仅能查看商户支付流水。
扫呗缴费通,使用便捷、资金收缴安全合规,现已适配校园、教培、物业、财会、无偿捐赠等场景。后续扫呗还将推出更多细分场景的缴费能力,敬请期待哦~